I forbindelse med at Thoths smaragdgrønne tavler  er på forsiden  af thirax.org, syntes jeg, at det er relevant at bringe følgende fra Pyramide‑ og bibelforskeren Jørgen Hansens som skriver følgende om thoth's pyramide:
Erling

 32A21 ‑ Hemmelige gange og rum Her er noget af "det helt vilde".

1965 fik vi pludselig besøg af nogle amerikanere fra San Francisco. Det var en tante "from over there" ‑ de havde en nabo, der skulle besøge noget familie i Harmborg, og så skulle de lige tage op til os i Danmark og overbringe en hilsen. Og det var fint nok; for vi kom til at tale om Khufu‑pyramiden. Og hun sagde, at hun var clairvoyant og havde set, hvordan pyramiden var indrettet ‑ og hvornår og hvordan den var bygget. Hun fik et stykke papir og tegnede så nogle helt ukendte rum og en masse. endnu ikke opdagede gange. Denne tegning har jeg så rentegnet ‑ og her er den.

Jeg har det med, fordi pludselig finder man måske disse kamre, og så er det jo smart, at I bare kan sige: "Alt det har vi da vidst alt om ‑ meget længe."

Ifølge hende skulle Khufu pyramiden og de to andre pyramider på Giza plateauet være bygget 36.000 år før vor tid af nogle af de overlevende fra Atlantis, der i sin tid ankom til området her. Resten var "taget den anden vej" til Yucatan halvøen og videre til Mexico osv., hvor de så byggede pyramider og templer!

Her i Ægypten var det Thot, der var deres leder. De kalder ham for "En himmelsk budbringer fra tiden før den store oversvømmelse" ‑ og han er kendt som "Beregneren af tiden" og "Beherskeren af tids‑inddelingen" og han fik da også kreeret en kalender og alting.

Dødebogen nævner ham som "Den, der lever iblandt stjernerne". Jo, Ægypterne kender ham godt!

Det gør grækerne også. Der hedder han Hermes Trismegistos, og de kalder ham for Videnskabernes Guddom". Han er kendt for at have kendskab til højteknologi, matematik, litteratur, hemmelig lærdom og lægekunst ‑ alt sammen skjult for de uindviede ‑ og herfra stammer udtrykket, at noget er hermetisk tillukket ‑ eller slet og ret "den hermetiske kunst" ‑som fx alkymien, astronomien, astrologien osv.

I Grækenland kaldte de ham også for "Gudernes sendebud", som bl.a. sørger for, at de dødes sjæle kommer velbeholdne "over på den anden side". Grækerne kaldte ham for en Metatron, som betyder formidler af "Guds Tale".

I Hebræernes mytologi kaldes han for Enok ‑ den Kyndige ‑ den Indviede ‑Indsigtsfulde og den Vidende. Og efter at han med mellemrum "havde gjort sig bemærket" igennem ca. 365 år, forsvandt han. Han "døde altså ikke". ‑ Det står der alt sammen noget om i fx 1. Mosebog 5,24 ‑ og i Hebræerbrevet 11,5 står der: "Han så ikke døden, ‑ og han blev aldrig fundet." ‑
I 1. Mosebog 5,19 nævner Jøderne ham som "den syvende efter Adam".

Endelig skal vi ikke glemme Enok‑bøgerne, som blev fundet som en del af Dødehavsrullerne i perioden 1947‑1950.

Første og Anden Enoks Bog findes i de gammel testamentlige Pseud‑Epigrafer ‑oversat til dansk i tiden 1953 ‑ 1976. Den tredje Enoks Bog findes kun på Hebraisk [indtil Hurtak oversatte den til engelsk ‑ til "Kundskabens Bog ‑ Enochs Nøgler (Stig)]

I den romerske mytologi kalder de ham for Merkur, og når der er lavet statuer af ham, er han altid forsynet med den kendte Hermes-hjelm med vingerne  og ofte med en stav ‑ "Merkurstaven" ‑ en stav med to slanger, der slynger sig omkring den. Vi kender dette symbol fra lægebilerne ‑ og rundt omkring som symbol på lægekunsten i det hele taget. Jo, tingene hænger skam også sammen her!

Det kan da for resten også være, at det ikke er "nogen‑tilfældighed", at den første planet fra Solen kom til at hedde Merkur. Dengang vidste man jo ikke noget om, at der faktisk var en planet endnu nærmere Solen ‑ med navner Vulkan. Men den har astronomerne jo fundet fysisk for nylig.

På vore breddegrader og i den nordiske mytologi er Odin helt den samme som ovennævnte. Vores onsdag er opkaldt efter Odin ‑ romernes onsdag er opkaldt efter Merkur.

 

Lad os se lidt på Thot's pyramide ‑ som den clairvoyante dame fra Amerika kaldte den!

Thot's pyramide set fra siden

 

Alt det, der er markeret med sort, er alt det ukendte. Resten er de kendte lokaliteter.

1.   Oprindelig indgang ‑ Indvielsernes port

2.   Nuværende indgang ‑ med vold brudt igennem af kaliffen Abdallah Al Mahmoun i året 820

3.   Det underjordiske kammer

4.   Brønden

5.   Grotten. Dér ligger en stor monolit, og den er for stor til at 'Kunne passere de gange, der er til rådighed. Monolitten er af rød granit ‑ og alts 'a' af et andet materiale end grundfjeldet, som jo er af kalksandsten, og det er "meget mystisk".

6.   Dronningens kammer.

7.   Det Store Galleri.

8.   Kongekammeret.

9.   De såkaldte luftkanaler.

10.   Hemmelig indgang til endnu ukendte kamre.

11.   Ukendt kammer, hvor bøger, skrifter og optegnelser om Atlantis' historie findes gemt.

12.   Ukendt kammer, hvor forskellige maskiner ‑ tekniske installationer og transportmidler ‑ som fx vogne og flyvende objekter findes gemt.

13.   Ukendt gang fra Sfinksen.

14.   Elevatorskakt ‑ fungerer ved hjælp af antityngdekraft.

  15.   Hallen ‑ 550 meter nede. Lys, varme og ventilation fungerer ved hjælp af atomkraft.
          Der findes tv‑overvågningsudstyr til  brug for rummene og elevatoren ‑ og så køretøjerne til  den  indre jord.

   16.   Gangen til den indre Jord.

   17.   Krystalkammeret. Det skulle være noget med vibrationer og frekvenser.

 

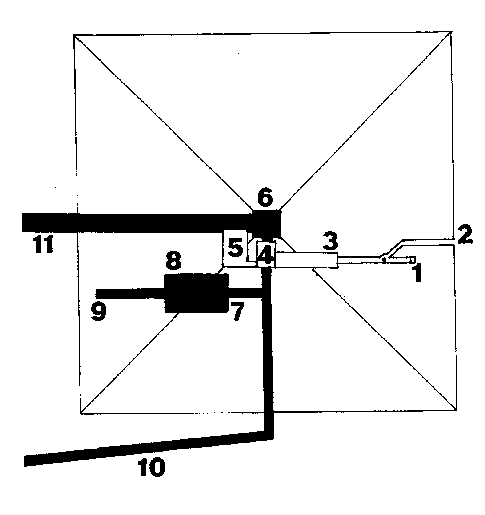
Thot's pyramide set ovenfra

   1.    Den oprindelige indgang.

   2.   Nuværende indgang ‑ Al Mahmoun.

   3.    Det Store Galleri.

   4.    Dronningekammeret.

   5.    Kongekammeret.

   6.    Elevatorskakten.

   7.    Ukendt kammer.

   8.    Ukendt kammer.

   9.    Hemmelig indgang til Atlantis kamrene.

   10.   Ukendt gang til Sfinksen.

   11.   Gangen til "den indre Jord"